Tudnivalók a rozsdamentes, saválló és hőálló ívekről
A gyorsabb, könnyebb tájékozódás érdekében a következő összeállítást készítettük Önnek rozsdamentes patentívekkel, forrcsőívekkel kapcsolatosan:
Csőívek jellemzői:
A csővezetékeket folyékony, légnemű vagy szemes anyagok szállítására alkalmazzuk. Létezik föld alatt, illetve a felszínen vezetett csővezeték.
A csővezetékrendszer a következő elemekből épül fel:
- Egyenes csőszakaszok:
A csővezetékek anyaga lehet acél, rozsdamentes acél, öntöttvas, alumínium, réz, ólom, műanyag. A rozsdamentes csövek lehetnek varratosak (hegesztettek) vagy varratnélküliek (húzottak).
- Csőidomok (csőívek, csőelágazások, csőszűkítők).
A nagyobb átmérők esetében (d>50 mm) a csővezetékek irányváltozását csőívekkel oldják meg. A csőívek beépítése jelentősen növeli a csővezetékek rugalmasságát, aminek elsősorban a meleg vezetékeknél van jelentősége.
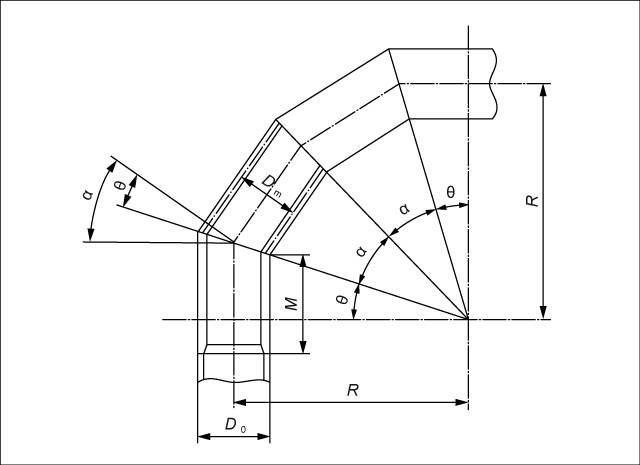
A csőívek jellemző méretei:
- csatlakozó méretek,
- a hajlítási irányt meghatározó szög és
- a középvonalon mért hajlítási sugár (rádiusz).
A csőívek készülhetnek egy darabból, vagy ferde csőszakaszokból összehegesztve.
A ferde szakaszokból hegesztett ívet szegmensívnek nevezik.
| Patentív | ||
| Szegmensív |
A csőívek falvastagsága patentívek (másnéven: forrcsőívek) esetében állandó, míg a csőből hajlított ív esetében változó.
Patentívek
A patentívekre vonatkozó szabványok:
- EN 10253
- Élelmiszeripari felhasználásra vonatkozó szabvány: DIN 11852
- A403
- ANSI B / ASME B 16.9.
A patentívek felhasználási területe megegyezik a hozzájuk csatlakozó csövekével.
Csőívek fajtái hajlítási irányt meghatározó szög szerint:
- 45°-os,
- 90°-os vagy
- 180°-os.
Patentívek fajtái rádiusz (hajlítási sugár) szerint:
| Typ 2D | Typ 3D | Typ 5D | R=D+100 | |
| Jellemző | rövid rádiusszal | standard rádiusszal | hosszú rádiusszal | mérettől függően, 205*3 mm-től |
| Rádiusz | R=1D | R=1,5D | R=2,5D | R=D+100 |
|
|
Megjegyzés: A rádiusz egyedi vevői igényeknek megfelelően R=2D-től 20D-ig változhat.
Csőívek besorolása nyomásállóság szerint:
- "A" típus (Form A): csökkentett felhasználási fokkal bír. Az ív falvastagsága mindenhol ugyanolyan, azaz az ív végein mért falvastagság megegyezik az ív belsejében mért falvastagsággal. A belső nyomással szembeni ellenállása alacsonyabb, mint az azonos átmérőjű, azonos falvastagságú és azonos minőségből készült cső ellenállása.
- "B" típus (Form B): teljes felhasználási fokkal bír. Az ív belsejében mért falvastagság nagyobb, mint a végeken. Általában ugyanolyan nyomásállóságú, mint az azonos átmérőjű, azonos falvastagságú és azonos minőségű acélból készült cső.
Ívek fajtái felületkiképzés szerint:
- natúr, pácolt ív,
- tükrös ív,
- szálcsiszolt ív.
Gyártási eljárás szerint az alábbi kiviteleket különböztetjük meg:
- Varratnélküli ívek:
- EN 10216-5 szerint gyártott rozsdamentes csőből, vagy
- EN 10227 szerint köracélból készülnek.
- Varratos (hegesztett) ívek:
- EN 10217-7 szerint gyártott csőből gyártva, vagy
- EN 10028-7 szerint gyártott lemezből hegesztve, vagy
- EN 10227 szerint köracélból gyártva
Patentíveink raktárról:
A rozsdamentes és saválló íveket hegesztett (varratos) és varratnélküli kivitelben forgalmazzuk.
Raktárról elérhető anyagminőségek:
- KO-33 WNr. 1.4301 AISI 304
- KO-36 WNr. 1.4541 AISI 321
- KO-35 Wnr. 1.4571 AISI 316Ti
- Wnr. 1.4404 AISI 316L.
Keressen bennünket, amennyiben felkeltettük érdeklődését: ertekesites##kukac##perkor.hu .



